Einlassgriff
Anderer Preismodifikator:
Verkaufspreis inkl. Preisnachlass
inkl. MwSt.: 55,45 €
exkl. MwSt.: 46,60 €
Preisnachlass
MwSt.: 8,85 €
per kg, inkl. MwSt.:
ab 1 St.: 46,60 € (netto)
ab 5 St.: 42,36 € (netto)
ab 14 St.: 39,53 € (netto)
ab 37 St.: 36,71 € (netto)
Art.-Nr.: NT814731450E
Gewicht: 0.3000 kg
Gewicht: 0.3000 kg
Edelstahl A4-AISI 316, 1.4401
- Edelstahl Einlassgriff
- ohne Schloss
- eckig
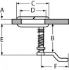
A: 8mm; B: 22-76mm; C: 62mm; D: 50mm; E: 71mm; F: 54mm
* zzgl. Versandkosten
Kleingedrucktes:
Für unsere Artikel bestehen die gesetzlichen Gewährleistungsrechte!
Lieferzeit: i.d.R. 5-10 Werktage

